一、概述
随着互联网技术和信息通讯技术的飞速发展,信息化、智能化的浪潮正在席卷世界的每一个角落。智能化、数字化家园的兴起,适应了社会信息化和经济国际化。智能建筑小区已成为房地产投资开发的主导方向。由于人们生活水平的不断提高,越来越重视住宅小区的质量、安全性以及信息的获取和管理,这又大大促进了智能化数字化家园的发展。
智能化小区在小区物业管理中发挥的不可替代的作用和智能家居在建筑、装饰及生活中的应用已成为势不可挡的历史趋势!在这种趋势下就孕育了数字化小区系统的飞速发展。
目前国内大部分的智能小区主要建立在模拟技术基础上,虽然也配置了很多智能化子系统,但由于模拟技术的局限性,造成子系统之间没有很好的集成,子系统本身的应用也存在很大的缺陷,家庭内部的智能化系统也仅限于很初级的功能。数字化小区系统是以数字化技术为基础,以宽带网络为核心,以小区高度集成的智能化平台为载体,以家庭为单位,以社区整体为主体实现了各种数字化应用的现代住宅小区。“数字化小区”是在现有“智能小区”的基础上,全面导入数字化技术和信息化技术,从而大幅度提高小区的智能化水平,真正实现家庭的数字化生活。数字化小区包括小区安全防范、互联网应用和物业管理自动化等应用。数字小区系统,在进行功能设计、技术路线选择、设备配置时,必须由市场定位确定功能需求,遵循“技术和功能匹配、设备和技术匹配、设备和设备匹配”的原则,从经济性、可靠性、开放性、扩展性和可持续发展性等方面对产品进行全面评价,摒弃概念和炒作,以实用为核心,让业主真切体验到“数字化,网络化”的时代生活方式,也让物业管理部门感受到很实在的“集成化、自动化”的管理方法。
二、楼宇对讲系统的发展历程
中国楼宇对讲行业发展到目前,从时间上大致经历了以下三个阶段:
1、楼宇对讲发展的第一阶段:(4+N型)
早期的楼宇对讲系统产品功能比较单一,系统中仅采用的发码、解码电路或RS-458进行小区域单个建筑物内的通讯,无法实现整个小区内大面积组网。这种分散控制的系统,互不兼容,各自为政,主要实现简单的单用户型与单元型楼宇对讲产品,不利于小区的统一管理。
2、楼宇对讲发展的第二阶段:总线型
随着科技的发展,国人的生活水平的提高,对需求逐步提升,原来非联网和非可视的要求已经不能满足人们的需求,于是进入联网阶段。1998年以后,组网成为智能化建筑最基本的要求。小区的控制网络技术,广泛地采用单片机技术的现场总线技术。如CAN、BACNET、LONWORKS和国内AJB-BUS、WE-BUS以及一些利用RS-485技术实现的总线等。采用现场总线技术可以把小区内各种分散的系统互联组网、统一管理、协调运行,从而构成一个相对较大的区域系统。现场总线技术在小区中的应用,使对讲系统向前迈出了一大步。楼宇对讲产品进入第二个高速发展阶段,大型社区联网及综合性智能楼宇对讲设备开始涌现。但是,从需求市场来看,该产品已进入需求量平台区。经过大量的应用,传统总线可视对讲系统也表现出一定的局限性:
(1)、功能单一,大部分产品仅限于通话、开锁等功能,设备使用率低;
(2)、抗干扰能力差,时常出现声音或图像受干扰,不清晰等现象;
(3)、传输距离受限,远距离时需增加视频放大器,小区较大时联网困难,并且成本较高;
(4)、由于技术上的局限性,产品升级或扩充功能困难等。
至2000年,推出网络可视对讲系统,控制数字信号使用网线传输,音视频使用同轴电缆传输的楼宇对讲系统,因此布线时需要两套线。此系统打破了传统的总线结构,为楼宇对讲系统过渡到数字阶段,提供了可行性见证。因此属于2.5代产品。
3、楼宇对讲发展的第三阶段:TCP/IP联网型
随着Internet应用普及和计算机技术的叙述发展,使人们的工作、生活发生了很大变化,数字化、智能化小区的概念已经被越来越多的人所接受,楼宇对讲产品进入第三个高速发展阶段,多功能对讲设备开始涌现。基于ARM或DSP技术的局域网技术开发产品逐渐推出,数字对讲技术有了突破性的发展!利用网络传输数据,模糊了距离的概念,突破了传统观念。将安防系统集成到设备中,提高设备实用性。
(1)、适合复杂、大规模及超大规模小区组网需求;
(2)、数字室内机实现了数字、语音、图像通过一根网线传输,从而不需要再布数据总线、音频线和视频线。只要将数字室内机话接入室内信息点即可;
(3)、可以实现多路同时互通,而不会存在占线的现象;
(4)、对于行业的中高档市场冲击很大,并能跨行业发展;
(5)、组建网络费用较低,便于升级及扩展;
(6)、便于维护及产品升级等。
三、系统设计依据
震声智能可视对讲系统是基于国家智能化小区设计标准设计,采用网络化,信息化,数字化技术开发的智能化产品,其数字化水平高,兼容性好,系统集成度高 ,其设计依据有:
《智能建筑设计标准》(GB/T 50314-2000);
《民用建筑电气设计规范》(JGJ/T 16-92);
《中华人民共和国安全防范行业标准》(GN/T74-94);
《中华人民共和国公共安全行业标准》(GN/T70-94);
《建筑电器设计规范》(IGI16-33);
《家居电讯布线标准》(ANSI TIA/EIA-570A)
《建筑及住宅社区物业管理数字化应用》
《建筑及住宅社区营运服务数字化技术应用》
《建筑及住宅社区数字化技术应用系统检测验收》
《建筑及建筑群综合布线系统工程设计规范》(CECS72-95)
《商业建筑通讯布线标准》(ANSI/EIA/TIA-568A)
《始创性的用户建筑布线》(ISQ/IEC IS-11801)
《商业大楼通讯路径和空间结构标准》(ANSI/EIA/TIA-569)
四、系统设计思想
震声智能可视对讲系统解决之道:全数字化传输,全数字化控制,数字化集成;设计时遵循“六 化”的设计思路,它分别是:产品数字化、协议标准化、功能综合化、应用时尚化、服务专业化、价格亲民化的设计思路。
l 产品数字化:在产品系统设计上采用先进的数字技术。
l 协议标准化:在系统传输上采用标准的TCP/IP协议网络技术,
l 功能综合化:在功能上综合多样,具有许多拓展及增值的功能。
l 应用时尚化:产品外型设计时尚家用的产品,时尚化不仅表现在外观上,在应用上也追求时尚化,给人们提供与时俱进的时尚应用,比如电子相册,便民信息等。
l 服务专业化:提供专业的全方位的服务,为你量身定制方案。
l 价格亲民化:震声智能给人们提供的是高档的产品,在价格上我们追求的却是亲民化的价格,如此才能真正服务千家万户。
五、系统拓扑

![]()


系统说明:
1、 小区基本组成单元可分为楼栋和别墅群;
2、 小区通常情况下设置一个管理中心,大型社区根据实际情况可设置多个管理中心,便于物业提供服务和提高工作效率;
3、 网络建设上终端连接使用PoE交换机进行网络连接及设备,中间及中心网络交换机使用二层网络交换机进行连接;
4、 传输过程中距离较近的采用超五类线进行连接,远距离传输采用光纤进行连接;
5、 小区根据实际情况设置一台或多台围墙机;
6、 根据小区住户的需求,可为该住户扩展KNX智能家居服务和安防报警功能。
1、 单元楼栋是小区的基本组成部分,是数字楼宇对讲系统的主要组成部分。
2、 单元门口设置数字对讲主机一台,用于实现业主及访客的呼叫可视对讲及门禁开锁功能,有地下停车场的可根据现场情况设置一台数字对讲主机,便于业主及访客的出入管理。
3、 楼栋内部的网络架构根据楼栋的高度、每层住户数量的不同,需根据实际情况进行设计配置
4、 楼栋内部采用超五类线传输,组成楼栋内部网络架构。
5、 室内机、单户门口机,门口机采用PoE供电方式供电,所选用的PoE交换机须为震声智能的PoE交换机。
1、室内网络架构是楼宇对讲的核心单元。是系统数字化的最终体验场所。
2、在住户内部,安装室内分机一至四台,可实现楼宇对讲的所有功能,并且是家居安防与智能控制的中心。
3、通过该室内分机,系统可扩展8防区的安防监控;
4、根据客户需要,为客户提供选配的视频监控功能;
5、通过与室内机的配置,可为用户提供呼叫转移等服务。
6、根据客户的家庭电表等智能化水平,系统更可为用户提供直接的自动智能仪表实施检测等服务,以进一步提升小区物业的管理水平。
六、系统功能介绍
1、 可视对讲功能
能实现小区出入口与住户、梯口与住户、管理中心与住户间可视对讲,语音图像清晰。
2、 开锁功能
在通话中,室内机能为呼叫的门口机或者围墙机进行开锁,管理机也可以为呼叫的围墙机或门口机进行开锁,住户也可以刷卡或密码开锁。
3、 监视功能
室内机可实时监视门口机,或者小区内网络摄像头,管理机也能监视门口机围墙机,支持监视时在不同门口机之间的切换。
4、 多通道功能
系统采用TCP/IP联网,在同一主干100M的局域网网络上,带宽足够100路的设备同时进行音视频对讲,可以做到同一时间内不同呼叫无占线的情况。
5、 户户通话
两位小区内不同住户室内机之间可互相呼叫通话。
6、 SOS紧急求救
室内机上有SOS紧急求救软按键,按此键管理机就可以接收到报警室内机的报警信息,并能显示室内机房号。
7、 防区报警
具备8路防区报警功能,并可支持扩展到24路防区,布防时,遇到警情自动上报至管理中心。
8、 图文信息发布接收功能
管理中心上位机(需安装配套系统管理软件)能向室内机、门口机发送文字信息(室内机可附带图片)。
9、 在线式门禁功能
能通过对讲系统设备实现在线式联网门禁功能。
10、图像存储功能
室内机具有抓拍并存储门口机或围墙机的访客图像功能。
11、防拆报警功能
室内机、门口机、单户门口机内置防拆装置,拆开时则报警提示,并上传管理中心。
七、系统主要设备选型
NH-SF07-9B
| NH-SF07-9B | |
本产品是基于 TCP/IP 传输协议的设备,是数字化楼宇对讲系统的主要组成设备,支持可视对讲、防区设置及待机图片推送显示。 | ||
功能特点 采用 7 寸电容触摸屏设计; 可支持 24V 非标 PoE 供电; 支持连接门铃及单户门口机; 可扩展呼梯功能,接受住户/访客呼梯; 支持实时监控,可监视门口机、IP摄像头; 信息接收和发送,可与管理中心互发信息; 支持一户多分机,撤/布防及静音同步功能; 可实现访客与住户、住户与管理中心的可视对讲; 具有户内通、户户通对讲功能,可实现小区住户与住户之间的对讲; 具有标准 7 防区安防报警功能。
| ||
工作电压:DC 24V 工作电流:≤ 150mA 静态电流:≤ 80mA 振铃时长:30 秒 通话时长:120 秒 监视时长:30 秒 环境温度:-10℃ ~ + 55℃ 产品尺寸(W/H/D): 199 * 139 * 20 mm | 显示屏: 类型:LCD 尺寸:7” 分辨率:1024 * 600 | |
NH-SF07-9B
操作说明
| |||||||
设置说明 | |||||||
1. 系统设置 | 工程设置 | ||||||
1、时间设置 | 2、摄像头设置 | 3、呼叫转移设置 | 1、房号设置 | ||||
4、密码设置 | 5、报警设置 | 6单户门口机设置 | 2、恢复出厂设置 | ||||
7、铃声设置 | 8、门禁设置 | 9、显示设置 | 3、小门口机1设置 | ||||
10、语言设置 | 11、关于 | 12、工程设置 | 4、小门口机2设置 | ||||
接口说明
| 接口示意图
|
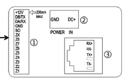
编号①:+12V + GND :电压输出。 Z8 :防区接口,仅支持常开安防模块接口。 Z7 至 Z1 :标准防区接口,支持接入常开/常闭安防模块。 编号②:网络接口(支持非标PoE供电)。 编号③:电源输入接口 DC 12 V ~ 24 V。 | |
Z(1~7)单个安防探测器接法:
|
| Z8单个防区接法:
| |
Z(1~7)多个安防探测器接法:
|
| ||
Z8多个安防探测器接法:
| |||
触发类型
立即报警:该防区布防后,一经触发,立即发出警报。
延时报警:该防区布防后若被触发,则进入报警延时倒计时,用户可在倒计时时间内撤防,否则时间到后立即发出警报。
传递延时:该防区需与延时防区关联操作。布防后,一旦该防区先于延时防区触发,则立即报警;如延时防区先触发,则进行触发倒计时,用户可在倒计时时间内撤防,否则时间到后立即报警。
24小时即报:该防区只要系统上电后即进行检测,不受布/撤防影响,一旦防区被触发,立即发出警报。
交叉报警:该防区需两个防区配合触发。布防后,交叉防区一旦触发后,在 5 秒 内触发交叉防区二则立即发出警报,否则不进行报警。
门铃功能可通过 报警设置
防区设置
探测器类型 进行设置。设置完成后,防区接口检测到门铃输入后,立即响起门铃声。
NH-SG10 | NH-SG10 | |
本产品基于 TCP/IP 传输协议的设备,管理小区住户、出入口主机的中心设备。 | ||
功能特点 采用7寸电容触摸屏设计; 可接收室内机及门口机的呼叫 同步响应室内机的报警信号; 具有报警信息存储功能; 具有远程开锁功能,可给门口机/围墙机开锁; 可显示室内/门口机号码; 可监视门口机、围墙机、网络摄像头; 支持紧急开锁(开锁时间为1小时)。 | ||
工作电压:DC 24V 工作电流:≤ 200mA 静态电流:≤ 80Ma 振铃时长:30 秒 通话时长:120 秒 监视时长:30 秒 环境温度:-10℃ ~ + 55℃ 外形尺寸(L * W * D不含底座和手柄) : 305 * 210 * 31.8 mm | 显示屏: 类型:LCD 尺寸:7” 分辨率:800 * 480 | |

管理机正面图
操作说明
| ||||
设置说明 | |||
系统设置 | 工程设置 | ||
1、时间设置 | 2、语言设置 | 3、密码设置 | 1、编号设置 |
4、显示设置 | 5、铃声设置 | 6、工程设置 | 2、恢复出厂设置 |
7、关于 | 8、呼入管理 | ||
接口说明
| 接口示意图
|
门口机
NH-SACR07-01 | NH-SACR07-01 | |||
本产品是数字楼宇对讲系统的主要组成设备。采用标准五类线连接,从而实现与室内机或管理机的通话,并支持IC卡 门禁控制。 | ||||
7寸 TFT 显示屏 支持 IC 刷卡 夜间高亮 LED 灯自动补光 门状态检测,门开超时报警 提供常开/常闭开锁 | 扩展功能: 支持人脸识别开锁 随机密码与二维码开锁 (需搭配云对讲APP使用,出厂默认不支持) | |||
工作电压:DC 24V 工作电流:≤ 300mA 静态电流:≤ 150mA 环境温度:-25℃ ~ +70℃ ( W/H/D ) 148.5 * 363 * 47 mm
| 显示屏: 类型:LCD 尺寸:7” 分辨率:600×1024 | 摄像头: 类型:CMOS 像素:200W 可视角度:对角123° 焦距:3.5mm 补光方式:白光 最低照度:0 lux | ||
门口机正面图
接口说明
| 接口示意图
| ||||
编号①:网络接口(支持标准PoE供电,需定制)。 编号②:电源输入接口 DC 24 V。 编号③:+12V :仅当门口机输入电压>18V时才能提供+12V电压。当采用+12V输入电压时,此输出将低于+10V。 COM NO NC :开锁继电器的公共端、常开端和常闭端。 GS:门状态检测输入端。 UNLOCK GND:门内开锁开关输入 | |||||
操作说明
| |||||
设置说明 | |||
2. 系统设置 | 3. 工程设置 | ||
1、时间设置 | 2、声音设置 | 1、设备属性 | 2、报警设置 |
3、语言设置 | 4、密码设置 | 3、报警设置 | 4、工厂设置 |
5、开锁设置 | 6、门禁卡设置 | 5、工程密码 | 6、公司信息 |
7、电梯联动 | 7、设备信息 | ||
单户门口机
NH-SAA-01 | NH-SAA-01 | ||
本产品是H系列数字楼宇对讲系统的单户门口机。采用标准五类线连接,从而实现与室机或管理机可视对讲通话,并支持IC门禁控制。 | |||
功能特点 支持刷IC卡 支持呼叫室内机、管理机 开锁时间可调 门状态检测,门开超时报警 提供常开/常闭开锁输出 支持在线升级 | |||
工作参数 工作电压:DC 24V 静态电流:≤ 60mA 工作电流:≤ 130mA 工作环境温度:-25℃~70℃ 存储环境温度:-40℃~70℃ 产品尺寸(W/H/D):120×194×44.7mm | 摄像头 类型:CMOS 像素:30W 可视角度:对角110° 最低照度:0 lux 焦距:2.2mm 补光方式:白光 | ||
小门口机正面图
接口说明
| 接口示意图
| ||||||||
RJ45网络接口:连接线接口,可连接24V非标PoE交换机; NO COM NC:常开/常闭接口; GS GS-GND:门状态检测接口; UNLOCK:门内开锁接口; GND DC+:独立电源供电接口; | |||||||||
配置
| |||||||||
访客短按呼叫键,开始呼叫,本机响回铃音。如果振铃的过程中短按呼叫键,则重置30秒倒计时,如果振铃中长按呼叫键切换到呼叫管理中心。如果30秒内住户无应答,则自动结束呼叫 | 访客长按呼叫键2秒,开始呼叫,本机响回铃音,如果30秒内管理中心无应答,则自动结束呼叫。如果振铃中长按呼叫键,则重置30秒倒计时,如果短按切换到住户。
|
1、 刷卡开锁 将已注册过后的卡贴近单户门口机上的刷卡区即可开锁。 2、 室内机开锁 当呼叫住户或住户在监视单户门口机时,室内机可对单户门口机进行开锁控制。 3、 出门按钮开锁 本机有提供接口供出门按钮接线,连接好出门按钮后,住户只需在门内按一下出门按钮即可开锁。 | |
(PoE 6+2)交换机是一款带POE供电输出的非标二层网络交换机,所有端口均支持自动翻转(Auto MDI/MDIX)功能,提供了一个简单、经济、高性能标准网络的解决方案,具有简单灵活,安装方便,性能优越,性价比高的特点,是您提高服务速度的理想选择。产品1~8口为24V强制供电输出,使用时无需配置,即插即用。
产品特色
符合IEEE802.3、IEEE802.3u标准
全双工采用IEEE802.3X标准,半双工采用Back Pressure标准
支持端口自动翻转(Auto MDI/MDIX)功能,即插即用
自动维护MAC地址列表,支持双向的地址学习功能
每个端口提供各自独立的带宽,提供真正的无阻塞传输
动态LED指示灯,提供简单的工作状态提示及故障排除
规格参数
工作电压:24V | 额定电流:2.5A |
单口输出电压:24V | 单口最大输出电流:300mA |
尺寸(W/H/D):195 * 92 * 37 mm
LED指示灯说明
指示灯 | 文字标识 | 状态 | 说明 |
电源指示灯 | PWR | 红灯点亮 | 表示交换机通电 |
红灯灭 | 表示交换机断电 | ||
POE | POE | 黄灯点亮 | 表示POE供电正常 |
黄灯灭 | 表示无POE供电 | ||
数据指示灯 | 10/100Mbps | 绿灯点亮 | 表示以太网数据建立连接 |
绿灯灭 | 表示以太网数据未建立连接 | ||
绿灯闪烁 | 表示以太网数据传输 |
NH系列全数字楼宇对讲系统管理软件包含物业管理及小区配置功能。本软件功能全面而强大,可满足不同类型小区的管理。对超大型社区的管理更突显其可靠性、安全性。
本上位机软件安装在当前主流配置电脑上。采用微软Win7 及以上操作系统
祝您使用愉快!
简介
本软件具有简洁的用户界面,不仅具备信息发布、卡管理、信息管理、工程设置等传统楼宇对讲功能,还具有丰富的应用功能,主要功能的列表如下:
Ø 报警:报警提示,查看报警信息。
Ø 信息交互:信息发布、信息接收及回复室内机上发的信息。
Ø 管理中心常用功能:包括系统设置、联网设备配置、单元设备配置、管理工具、紧急开锁、工作人员管理、业主信息管理、门禁卡注册、门禁卡管理、信息发布、访客管理、设备故障报警、记录管理、数据库管理。
Ø 推送待机图片给门口机和室内机。
Ø 物业催缴费提醒设置。
Ø 远程升级其他系统设备。
运行软件前须先设置正确的电脑IP,否则软件无法正常运行。
点击状态栏中的网络连接
图标打开网络和共享中心后选择本地连接进行本地IP设置。IP设置为10.0.0.1,子网掩码设置为:255.0.0.0。
① |
② |
③ | |
双击安装程序软件。
点击
,软件启动完成后出现
默认用户名:admin,默认密码:123456
登录完成后进入 管理中心界面
系统设置
小区信息设置
设置小区名称、上传小区地图。
系统默认为无片区。
如果小区规模较大可设置为有多个片区,按片区进行操作便于业主信息管理,卡管理,信息发布等。
开启系统校时,可设置校时间隔。
联网设备包含管理机、围墙机、联网刷卡头。
选择工程配置选择联网设备配置进入读取联网设备,输入实际的楼栋号(1-99),单元号(1-9),点击
,搜索完毕自动生成所有联网设备列表。当没有单元号时,默认单元号为1。
系统支持1-32台管理机的配置。
系统支持1-32台围墙机的配置。
配置
系统支持10台联网刷卡头的配置。
可支持0-99栋,每栋0-9个单元的配置。
每个单元可添加1-10台门口机
每个单元最多支持63层,每层最多支持32户。
◎ 点击 查看室内机 ,可查看本单元的室内机列表。
◎ 点击 单个添加室内机 ,可输入住户编号(3位/ 4位),进行单个室内机的添加。
◎ 点击 矩阵添加室内机,可输入起始住户编号与结束住户编号,点击
,对室内机进行矩阵添加。
◎ 点击 复制室内机 ,进入 复制单元界面 ,可将当前单元的室内机配置复制到其他单元。
在 系统设置的小区结构设置中,设置为有片区后,可开启本设置项。
支持添加片区以及为每个片区分配所属的单元。
本软件支持对管理机、围墙机、联网刷卡头、门口机、单元刷卡头、室内机、单户门口机和电梯联动模块的Ping检测与版本查看。
选择相应的设备类型并输入设备编号,点击Ping检测,上位机会返回Ping该设备是否成功。
支持手动校时功能,点击
即可对系统其它设备的时间进行同步校准。
本软件支持对整个网络中数字设备的IP地址与MAC地址的检测,如果有相同的IP地址,则列表显示:IP冲突。
输入正确的管理员密码,点击
。
本软件支持对工作人员的信息进行录入及管理,包含部门管理、工作人员的添加及查看人员列表等。
可对工作人员所在的部门进行添加或修改操作。添加后,在工作人员添加的界面,工作人员所在的部门可选。
可对工作人员信息进行录入,包含人员基本信息、联系方式、所在部门及职位。另外还可为工作人员分配管理权限。工作人员可凭此处设置的账号和密码登陆本软件,进行权限内的操作和设置。
可对人员列表进行查看或修改,列表包含账号、姓名、性别、出生日期、部门和职位信息。
根据业主的信息进行录入操作。
列表
以列表方式显示业主信息。
支持对门禁卡进行单张、批量注册、列表查看,以及从读卡头将已注册的门禁卡数据读取至本软件中。
单张卡注册
门禁卡录入方式有:手动录入卡号或发卡器刷卡录入(需选择刷卡器连接的电脑COM口)。
批量卡注册
◎从数据库导入:
更换设备时可将已存储在上位机上的卡信息,重新导入门口机、围墙机或室内机中。
◎从文件导入:
支持.txt /.xls文件导入。
可对门禁卡列表进行搜索、查看或修改,列表包含卡号、卡所属、卡状态和操作信息。
可从各设备读卡头将已注册的门禁卡数据读取至本软件中,读取时可分别选择卡类型、设备类型以及设备编号进行读取。
支持室内机公告,室内机私人信息,门口机公告的发布,支持对室内机发送过来的信息接收及查询。
发布室内机公告,可选择接收方为单个或 广播到所有 单元。
发布室内机私人信息可只选择一户。
门口机公告:可选择接收方为单个或全部门口机,广播到所有 指广播到小区内所有门口机和围墙机。
断线报警:当系统中的某个设备被拆卸掉或发生断电,管理员可以选择是否通过上位机检测该故障并将故障信息上报。
管理
信息管理包含报警、布撤防、开锁、通话和信息发送记录的查询、查看、导出及删除功能。
具有数据备份和恢复功能。
支持管理机、围墙机、门口机、室内机和单户门口机的远程升级。
可远程推送图片给室内机、门口机、围墙机、管理机。各设备推送图片大小如下:
位置 | 名称 | 尺寸 | 大小(byte) | 格式(24-bit) |
系统设置 | 地图 | 600*431 | 小于64K | *.bmp |
业主信息列表 | 住户照片 | 未限制 | 小于64K | *.bmp |
工作人员列表 | 工作人员照片 | 未限制 | 小于64K | *.bmp |
信息发布 | 信息图片 | 200*150 | 小于200K | *.bmp |
LOGO推送 | 室内机LOGO | 252*153 | 小于200K | *.bmp |
管理机LOGO | 800*100 | 小于200K | *.bmp | |
门口机LOGO | 272*160 | 小于200K | *.bmp | |
背景推送 | 室内机背景 | 800*480 | 小于1.1M | *.bmp |
管理机背景 | 800*480 | 小于1.1M | *.bmp |
八、其它事项
项目设备配置要求
电源配置要求:室内分机和门口机电源可采用PoE供电或独立电源供电。系统配电必须满足系统运行的要求,并有一定的余量。配电系统须保证给予本系统可靠、安全、合理的供配电。
线路要求:小区主干部分可根据工程实际情况来确定采用光纤或超五类网线进行连接,单元到户全用超五类线。
设备部分:根据现场情况可设置一层、二层、三层交换机,交换机必须符合IEEE802.3、IEEE802.3u、IEEE802.3ab、和IEEE802.3x标准;支持10/100/1000M自适应以太网端口;
室内布线:数字可视对讲所用线材为超五类非屏蔽网线,在多层及小高层布线时如没有超过90米可直接敷设到首层综合布箱内,敷设线缆时一定注意文明施工及做好标记;
高层布线:高层布线时不管有没有超过90米的有效值,设计时都需要考虑交换机的分级管理;
室内机底盒的预留:可视对讲室内机预留底盒为86底盒,在底盒周围20公分内不能有其它底盒的设计;
门口机及单户门口机位置:门口主机的设计摄像头高度为1.6米,同时还要注意与门禁、门锁及锁控部分的配合,并考虑阳光直晒及散热等问题;
室外管道的设计:室外管道的设计首先要根据线材数量来确定管径的大小,管道必需预留40%空间,注意与其它工种交叉作业和弱电行业共路共由的问题(如:管道敷设的先后问题,管道井设置及孔位的排列问题),弱电管道与强电管道一定保持50公分的距离平行敷设,交叉时上下距离同样保持50公分以上;
室外光纤的设计:根据现场工程的架设需要,如单元到机房汇总的通信距离较远,可采用光收发器进行信号转换后远距离通信至机房组网;
综合布线箱的设计:综合布线箱必需做好防雷,强电浪涌的保护、散热、漏电保护、防雷插座及等电位接地。
交换机:系统网络连接使用的交换机可采用二层交换机进行设置,如有特殊需要使用三层交换机需做好三层交换机的配置;
为保证深圳震声智能电子有限公司的数字可视对讲系统网络正常运行,对网络建设提出如下建议:
1、采用层次化网络设计,便于网络管理,优化网络性能,增强网络的扩展性;
2、小区网络主干的带宽必须大于100Mbps,住户接入端口的网络速度至少10Mbps即要求网络100M到楼,10M/100M到户;
3、小区局域网中必须合理分配网络设备的IP地址,保证可视对讲设备的网络IP地址不冲突。
为保证深圳震声智能电子有限公司的智能化可视对讲系统能正常工作,网络系统必须能够做到全天候安全可靠运行;